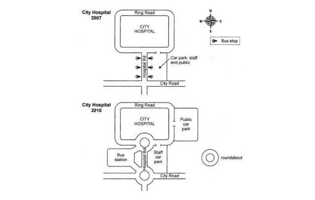
The two maps below show road access to a city hospital in 2007 and in 2010.

✍️ Want to check your own essay?Try for free →
The two maps below show road access to a city hospital in 2007 and in 2010.
IELTS Writing Task Chart for The two maps below show road access to a city hospital in 2007 and in 2010.
The two plans illustrate the development that has taken place on roadway access around a municipal hospital from 2007 until 2010 with
label
Fix the agreement mistake
labels
show examples
and pictures. At first glance,
it is clear that
Linking Words
there had been several construction of public facilities around the hospital, including bus
station
Fix the agreement mistake
stations
show examples
and
car
Use synonyms
parks which are located along the roads. The hospital
road
Use synonyms
which connected the city
road
Use synonyms
and ring
road
Use synonyms
, had been added with two roundabouts.
Moreover
Linking Words
, on the west side of the hospital
road
Use synonyms
, the trees along the
road
Use synonyms
had been cut down to make place for a bus station which connected to the two roundabouts.
In addition
Linking Words
, the former employee and public
car
Use synonyms
park had been turned into staff only
car
Use synonyms
park by cutting down the trees located on the east side of the hospital
road
Use synonyms
.
Nonetheless
Linking Words
, a public
car
Use synonyms
park had been built on the west side of the hospital.

Unauthorized use and/or duplication of this material without express and written permission from this site's author and/or owner is strictly prohibited. Excerpts and links may be used, provided that full and clear credit is given to Writing9 with appropriate and specific direction to the original content.

Introduction: The introduction is missing.
Introduction: The chart intro is missing.
Common mistake: Your writing should be 150-250 words.
Basic structure: Change the third paragraph.
Basic structure: Change the fourth paragraph.
Introduction: The chart intro is missing.
Vocabulary: Replace the words car, road with synonyms.
Vocabulary: Rephrase the word "undefined" in your introduction.
Vocabulary: Only 2 basic words for charts were used.
Vocabulary: The word "around" was used 2 times.
Vocabulary: Use several vocabularies to present the data in the third paragraph.
Vocabulary: Use several vocabularies to present the data in the fourth paragraph.
Topic Vocabulary:
  • accessibility
  • dual carriageway
  • roundabout
  • traffic flow
  • multi-story car park
  • green spaces
  • pedestrian provisions
  • footpaths
  • traffic signals
  • construction phase
  • ambulances
  • carriageway expansion
  • traffic congestion
  • pedestrian crossings
  • urban planning
  • infrastructure development
What to do next:
Look at other essays: